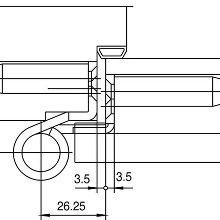
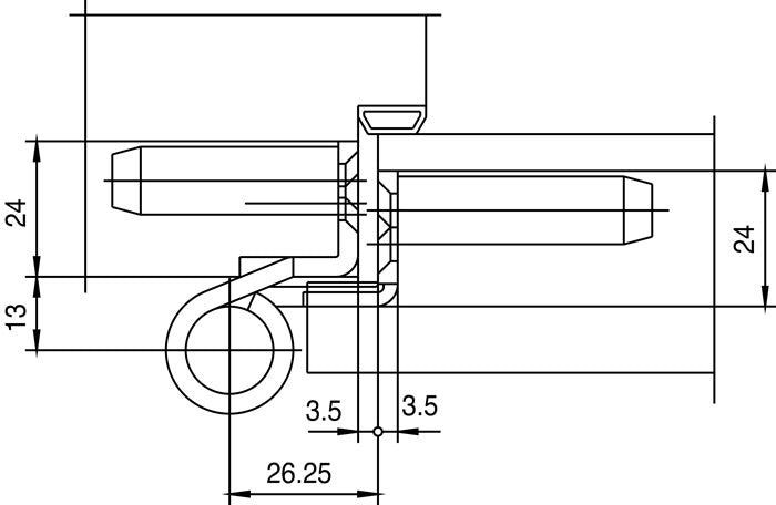
Zawias obiektowy SIMONSWERK VARIANT VN 1939/160 stal nierdzewna szczotkowana matowa 160 kg ( 3000255492 )
Direkt ist günstiger für Dich – erfahre warum
Preisvergleichs-Portale und Suchmaschinen verlangen bei jedem Kauf hohe Gebühren – oft über 20 % des Verkaufspreises. Diese Kosten zahlen am Ende immer die Kunden. Wir gehen einen anderen Weg: Statt Werbebudgets an große Plattformen zu zahlen, investieren wir lieber in faire Preise, BROpoints, Geschenke und exklusive Bestpreis-Deals, die Du nur direkt bei uns findest. Ohne Zwischenhändler. Ohne Aufschläge. Direkt für dich.
Auf Lager Lieferung bis vorrauss. czw., 07.05.2026
- +12 weitere
- Mehr von
- Zustand Neuware
Ergänzende Artikel
Rechnung, Versand & GPSR
Versand & Rechnung durch: Dinotech e.K.
- Simonswerk GmbH
- Bosfelder Weg 5
- 33378 Rheda-Wiedenbrück
- Germany
- +4952424130
- mail@simonswerk.de
